全国2008年4月高等教育自学考试计算机组成原理试
编辑整理:广东自考网 发表时间:2018-05-24 06:23:35
【加入自考交流群】
《自考视频课程》名师讲解,轻松易懂,助您轻松上岸!低至199元/科!
全国2008年4月高等教育自学考试
计算机组成原理试题
课程代码:02318
一、单项选择题(本大题共20小题,每小题2分,共40分)
在下列每小题的四个备选答案中选出一个正确答案,并将其字母标号填入题干的括号内.错选、多选或未选均无分.
1.若真值X=-1011,则
=( )
A.1.0101
B.10101
C.1.0100
D.10100
2.设十六进制数为A3.5,则相应的十进制数为( )
A.172.5
B.179.3125
C.163.3125
D.188.5
3.补码加减运算是指( )
A.操作数用补码表示,符号位单独处理
B.操作数用补码表示,连同符号位一起相加
C.操作数用补码表示,将加数变补,然后相加
D.操作数用补码表示,将被加数变补,然后相加
4.定点小数的补码表示范围是( )
A.-1<x<1
B.-1<x≤1
C.-1≤x<1
D.-1≤x≤1
5.中央处理器包含( )
A.运算器和主存储器
B.控制器和主存储器
C.运算器和控制器
D.运算器和输入输出接口
6.要访问容量为32KB的主存储器,至少需要二进制数地址( )
A.13位
B.14位
C.15位
D.16位
7.动态RAM的特点是( )
A.工作中存储内容会产生变化
B.工作中需要动态地改变访存地址
C.每次读出后,需根据原存内容重写一次
D.每隔一定时间,需要根据原存内容重写一遍
8.下列存储器中可在线改写的只读存储器是( )
A.EEPROM
B.EPROM
C.ROM
D.RAM
9.在计算机的层次化存储器结构中,虚拟存储器是指( )
A.将主存储器当作高速缓存使用
B.将高速缓存当作主存储器使用
C.将辅助存储器当作主存储器使用
D.将主存储器当作辅助存储器使用
10.单地址指令( )
A.只能对单操作数进行加工处理
B.只能对双操作数进行加工处理
C.既能对单操作数进行加工处理,也能对双操作数进行运算
D.无处理双操作数的功能
11.堆栈指针SP的内容是( )
A.栈顶地址
B.栈顶内容
C.栈底地址
D.栈底内容
12.在同步控制方式中( )
A.各指令的执行时间相同
B.各指令占用的机器周期数相同
C.由统一的时序信号进行定时控制
D. CPU必须采用微程序控制方式
13.CPU响应DMA请求的时间是( )
A.必须在一条指令执行完毕
B.必须在一个总线周期结束
C.可在任一时钟周期结束
D.在判明设有中断请求之后
14.在微程序控制中,机器指令和微指令的关系是( )
A.每一条机器指令由一条微指令来解释执行
B.每一条机器指令由一段微程序来解释执行
C.一段机器指令组成的工作程序,可由一条微指令来解释执行
D.一条微指令由若干条机器指令组成
15.微程序存放在( )
A.主存中
B.堆栈中
C.CPU中
D.磁盘中
16.下列设备中,适合通过DMA方式与主机进行信息交换的是( )
A.键盘
B.电传输入机
C.针式打印机
D.磁盘
17.串行接口是指( )
A.接口与系统总线之间采取串行传送
B.接口与外围设备之间采取串行传送
C.接口的两侧采取串行传送
D.接口内部只能串行传送
18.向量中断的向量地址是( )
A.通过软件查询产生
B.由中断服务程序统一产生
C.由中断源硬件提供
D.由处理程序直接查表获得
19.中断屏蔽字的作用是( )
A.暂停外设对主存的访问
B.暂停对某些中断的响应
C.暂停对一切中断的响应
D.暂停CPU对主存的访问
20.在调相制记录方式中( )
A.相邻位单元交界处必须变换磁化电流方向
B.相邻位单元交界处,电流方向不变
C.当相邻两位数值相同时,交界处变换电流方向
D.当相邻两位数值不同时,交界外变换电流方向
二、名词解释题(本大题共3小题,每小题3分,共9分)
21.微程序
22.主设备
23.中断嵌套
三、简答题(本大题共5小题,每小题4分,共20分)
24.高速缓存Cache用来存放什么内容?设置它的主要目的是什么?
25.什么是堆栈?说明堆栈指针SP的作用.
26.简述微程序控制方式的基本思想.它有什么优点和缺点?
27.什么是中断?请说明它的特点和适用场合.
28.什么是串行总线?什么是并行总线?试比较它们的应用场合.
四、简单应用题(本大题共2小题,每小题9分,共18分)
29.用Booth算法计算-4×3的4位补码乘法运算,要求写出每一步运算过程及运算结果.
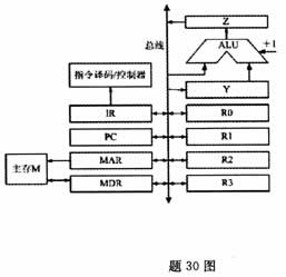
30.设有单总线CPU的计算机结构如图所示.试写出指令ADD(R1),R0的执行流程.其中,(R1)表示寄存器间接寻址,R0表示寄存器寻址,指令功能为加法.

五、设计题(本大题共1小题,13分)
31.用512×4位/片的存储芯片构成2KB存储器,地址线
(低),数据线为
,读写控制信号为
,访存请求信号为
,存储器芯片控制信号有
.请回答:①加至各芯片的地址线是哪几位?②分别写出四个片选信号的逻辑式.③画出存储器逻辑图(芯片级).
本文标签:广东自考 工学类 全国2008年4月高等教育自学考试计算机组成原理试
转载请注明:文章转载自(http://www.zikaogd.com)
《广东自考网》免责声明:
1、由于考试政策等各方面情况的调整与变化,本网提供的考试信息仅供参考,最终考试信息请以省考试院及院校官方发布的信息为准。
2、本站内容部分信息均来源网络收集整理或来源出处标注为其它媒体的稿件转载,免费转载出于非商业性学习目的,版权归原作者所有,如有内容与版权问题等请与本站联系。联系邮箱:812379481@qq.com。





